Informations produits
-
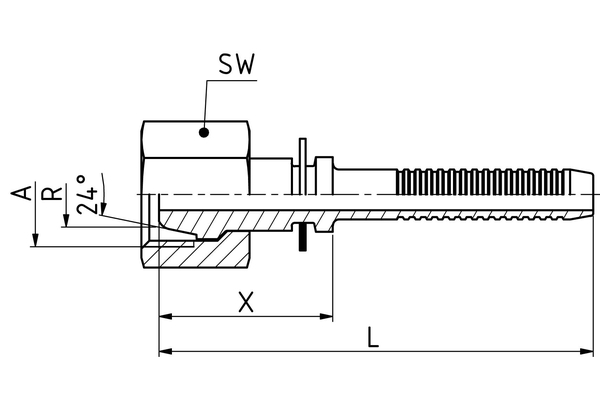
Données techniques
DN: 06 Size: 04 Pouce: 1/4 Filetage + norme: Cône d’étanchéité avec écrou-raccord, série lourde Filetage de raccord A: M16x1,5 Ø tube R [mm]: 8 X [mm]: 25,0 L1 [mm]: 59,7 SW1 [mm]: 19 Désignation de raccord Indunorm: MSF Gamme d'embout à sertir: Programme d'hydraulique d'outillage 700 bar XJ Matériau: Acier de décolletage Résistance à la rouille blanche [h]: 72 Résistance à la rouille rouge [h]: 144 Type de raccord: DKS
