Informations produits
-
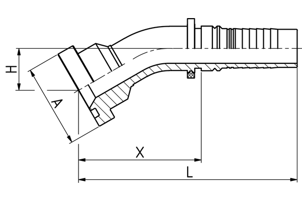
Données techniques
DN: 25 Filetage + norme: Collerette de bride SAE J518 (ISO 6162), série haute pression 6.000 psi = ca. 413 Bar Filetage de raccord A: 3/4" X [mm]: 84,5 H [mm]: 20,0 Désignation de raccord Indunorm: SFH 6 30° Forme: 30° Gamme d'embout à sertir: Programme multispiral HAI Matériau: Acier de décolletage Type de raccord: SFS 6.000 PSI 30°
