Informations produits
-
Données techniques
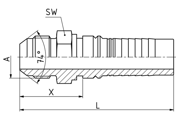
DN: 31 Filetage + norme: Embout de raccordement JIC, cône 74° avec filetage UN/UNF Filetage de raccord A: 1.5/8-12 X [mm]: 45,7 SW1 [mm]: 46 Désignation de raccord Indunorm: JM Forme: 0° Gamme d'embout à sertir: Programme multispiral HAI Matériau: Acier de décolletage Type de raccord: AGJ
