Informations produits
-
Données techniques
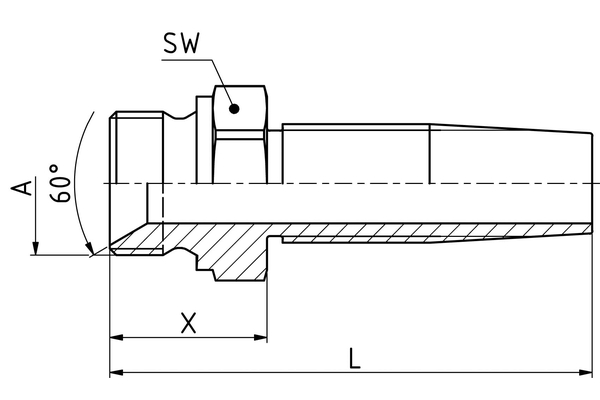
DN: 10 Size: 06 Pouce: 3/5 Filetage + norme: Embout de raccordement BSP, cône 60° avec filetage mâle BSP Filetage de raccord A: G 3/8"-19 X [mm]: 20,3 L1 [mm]: 66,0 SW1 [mm]: 22 Désignation de raccord Indunorm: BM Gamme d'embout à sertir: Embouts à visser R Matériau: Acier de décolletage Résistance à la rouille blanche [h]: 72 Résistance à la rouille rouge [h]: 144 Type de raccord: AGR
