Informations produits
-
Données techniques
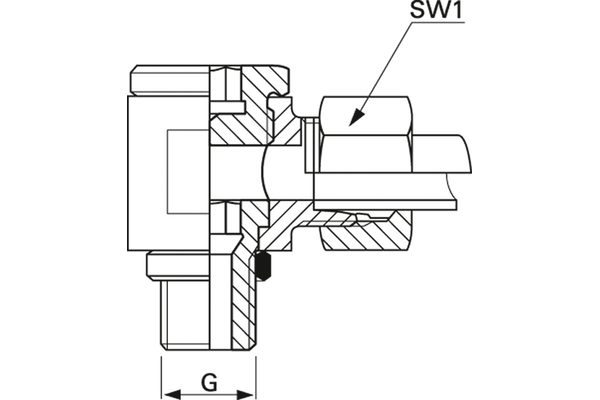
Pression de service [bar]: 250 Pression d'éclatement [bar]: 1000 Ø tube R [mm]: 6 Filetage [G1]: M12x1,5 Filetage [G2]: G 1/8" Série: L SW1 [mm]: 19 SW2 [mm]: 6 SW3 [mm]: 14 Description: Raccord coudé pivotant sans étranglement Forme: Coudé 90° Matériau: Acier Résistance à la rouille blanche [h]: 500 Résistance à la rouille rouge [h]: 1000 Surface: Chrome III Type de raccord 1: Métrique 24° Type de raccord 2: Fractionnaire
