Informations produits
-
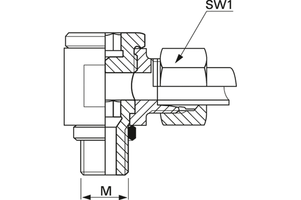
Données techniques
Pression de service [bar]: 250 Pression d'éclatement [bar]: 1000 Ø tube R [mm]: 38 Filetage [G1]: M52x2 Filetage [G2]: M48x2 Série: S SW1 [mm]: 70 SW2 [mm]: 32 SW3 [mm]: 60 Description: Raccord coudé pivotant sans étranglement Forme: Coudé 90° Matériau: Acier Résistance à la rouille blanche [h]: 500 Résistance à la rouille rouge [h]: 1000 Surface: Chrome III Type de raccord 1: Métrique 24° Type de raccord 2: Métrique

