Productinformatie
-
Technische gegevens
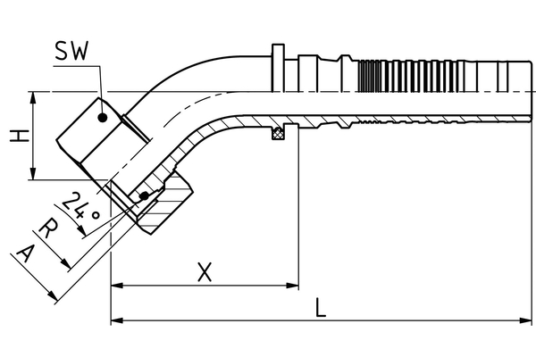
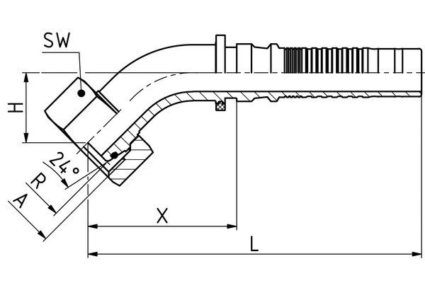
DN: 25 Size: 16 Inch: 1 Schroefdraad + norm: Afdichtconus met O-ring conform DIN 3865 (passend voor adapter 24° conform DIN 3901 en 3902), wartel, zware uitvoering Aansluitingschroefdraad A: M36x2 X [mm]: 83,0 L1 [mm]: 162,5 H [mm]: 35,0 Buitendiameter O-ring[mm]: 22,0 O-ring hoogte [mm]: 2,5 SW1 [mm]: 46 Moertype: Wartel Aansluitingaanduiding Indunorm: MSOF 45° Aansluitingmethode: DKOS 45° Armaturenserie: Multispiraalprogramma HV Bestendigheid tegen roodroest [h]: 720 Bestendigheid tegen witroest [h]: 120 Materiaal: Automatenstaal Materiaal O-ring: NBR Oppervlak: ZnNi Uitvoering: 45°

