Productinformatie
-
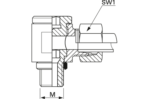
Technische gegevens
Bedrijfsdruk [bar]: 400 Barstdruk [bar]: 1600 Leidingdiam. R [mm]: 8 Schroefdraad [G1]: M16 x 1,5 Schroefdraad [G2]: M14 x 1,5 Serie: S SW1 [mm]: 22 SW2 [mm]: 8 SW3 [mm]: 19 Aansluitingmethode 1: Metrisch 24° Aansluitingmethode 2: Metrisch Beschrijving: Weerstandloze gebogen zwenkbare schroefkoppeling Bestendigheid tegen roodroest [h]: 1000 Bestendigheid tegen witroest [h]: 500 Materiaal: Staal Oppervlak: Cr(III) Uitvoering: Hoek 90°

