Productinformatie
-
Technische gegevens
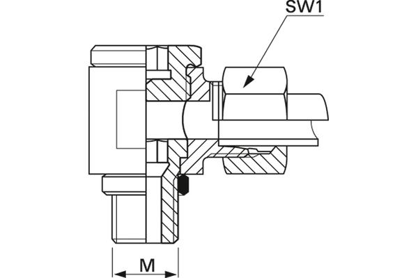
Bedrijfsdruk [bar]: 400 Barstdruk [bar]: 1600 Leidingdiam. R [mm]: 20 Schroefdraad [G1]: M30 x 2 Schroefdraad [G2]: M27 x 2 Serie: S SW1 [mm]: 46 SW2 [mm]: 17 SW3 [mm]: 36 Aansluitingmethode 1: Metrisch 24° Aansluitingmethode 2: Metrisch Beschrijving: Weerstandloze gebogen zwenkbare schroefkoppeling Bestendigheid tegen roodroest [h]: 1000 Bestendigheid tegen witroest [h]: 500 Materiaal: Staal Oppervlak: Cr(III) Uitvoering: Hoek 90°

