Productinformatie
-
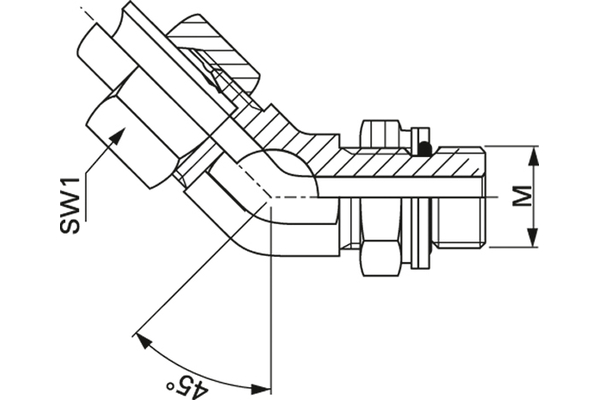
Technische gegevens
Bedrijfsdruk [bar]: 200 Barstdruk [bar]: 800 Leidingdiam. R [mm]: 38 Schroefdraad [G1]: M52 x 2 Schroefdraad [G2]: M48 x 2 Serie: S O-Ring 1: 44,6x2,9 SW1 [mm]: 48 SW2 [mm]: 60 SW3 [mm]: 55 Aansluitingmethode 1: Metrisch 24° Aansluitingmethode 2: Metrisch Beschrijving: Instelbare gebogen koppeling 45° met O-ring en contramoer Bestendigheid tegen roodroest [h]: 1000 Bestendigheid tegen witroest [h]: 500 Materiaal: Staal Oppervlak: Cr(III) Uitvoering: Hoek 45°

