Productinformatie
-
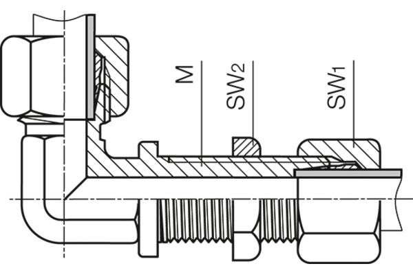
Technische gegevens
Bedrijfsdruk [bar]: 160 Barstdruk [bar]: 640 Leidingdiam. R [mm]: 28 Schroefdraad [G1]: M36 x 2 Schroefdraad [G2]: M36 x 2 Serie: L SW1 [mm]: 36 SW2 [mm]: 41 SW3 [mm]: 46 Aansluitingmethode 1: Metrisch 24° Aansluitingmethode 2: Metrisch 24° Beschrijving: Haakse Schot-koppeling Bestendigheid tegen roodroest [h]: 1000 Bestendigheid tegen witroest [h]: 500 Materiaal: Staal Oppervlak: Cr(III) Uitvoering: Hoek 90°

