Produktinformationen
-
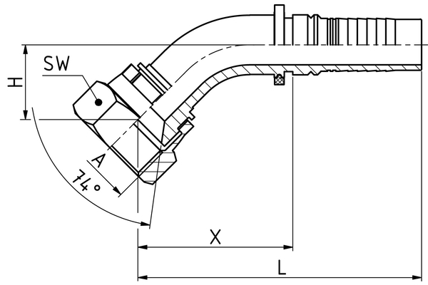
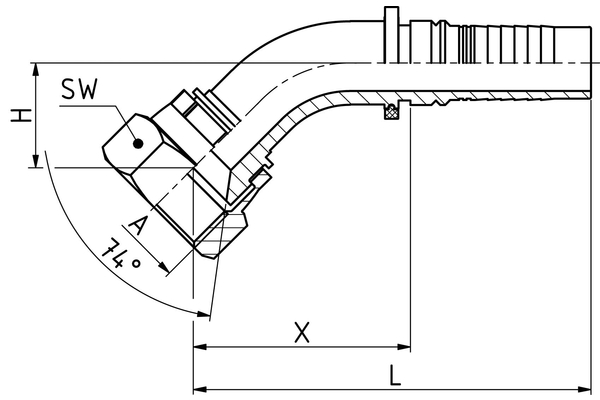
Technische Daten
DN: 31 Size: 32 Zoll: 1.1/4" Gewinde + Norm: JIC-Dichtkopf, 74°-Konus mit Überwurfmutter, UN-/UNF-Gewinde Anschluss-Gewinde A: 1.5/8"-12 X [mm]: 93,0 L1 [mm]: 158,2 H [mm]: 37,0 SW1 [mm]: 50 Anschlussart: DKJ 45° Anschlussbezeichnung Indunorm: JF 45° Armaturenreihe: Multispiralprogramm HAI 45° Bauform: 45° Material: Automatenstahl

