Produktinformationen
-
Technische Daten
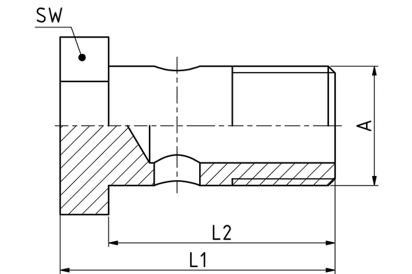
Gewinde + Norm: Hohlschrauben Anschluss-Gewinde A: 1/8" L1 [mm]: 20,3 Gewinde: G 1/8" SW1 [mm]: 14 Anschlussart: Hohlschraube zöllig Anschlussbezeichnung Indunorm: BMG Armaturenreihe: Universalprogramm XV Beständigkeit gegen Rotrost [h]: 144 Beständigkeit gegen Weissrost [h]: 72 Material: Automatenstahl Oberfläche: Cr3

