Produktinformationen
-
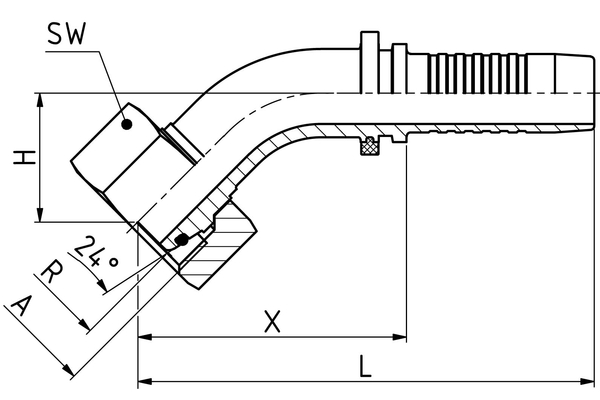
Technische Daten
DN: 12 Size: 08 Zoll: 1/2 Gewinde + Norm: Dichtkegel mit O-Ring nach DIN 3865 (passend für Stutzen 24° nach DIN 3901 und 3902), Überwurfmutter, leichte Reihe Anschluss-Gewinde A: M22x1,5 Rohr-Ø R [mm]: 15 X [mm]: 46,0 L1 [mm]: 81,5 H [mm]: 21,0 Außendurchmesser O-Ring [mm]: 12 Höhe O-Ring [mm]: 2,0 SW1 [mm]: 27 Mutterntyp: ÜM Anschlussart: DKOL 45° Anschlussbezeichnung Indunorm: MSOF 45° Armaturenreihe: Universalprogramm XV Bauform: 45° Beständigkeit gegen Rotrost [h]: 720 Beständigkeit gegen Weissrost [h]: 120 Material: Automatenstahl Oberfläche: ZnNi Werkstoff O-Ring: NBR

