Produktinformationen
-
Technische Daten
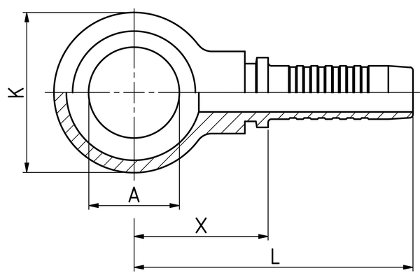
DN: 06 Size: 04 Zoll: 1/4 Gewinde + Norm: Ringnippel nach DIN 7642 für metrische Hohlschrauben X [mm]: 28,3 L1 [mm]: 54,8 Ringnippelbohrung [mm]: M12 AD Ringnippel K: 20,0 A: 12,1 Anschlussart: RGN Anschlussbezeichnung Indunorm: MRN Armaturenreihe: Universalprogramm XV Bauform: 0° Beständigkeit gegen Rotrost [h]: 144 Beständigkeit gegen Weissrost [h]: 72 Material: Automatenstahl Oberfläche: Cr3

