Produktinformationen
-
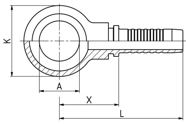
Technische Daten
DN: 16 Size: 10 Zoll: 5/8 Gewinde + Norm: Ringnippel nach DIN 7642 für metrische Hohlschrauben X [mm]: 30,5 L1 [mm]: 70,5 Ringnippelbohrung [mm]: M22 AD Ringnippel K: 39,0 A: 22,1 Anschlussart: RGN Anschlussbezeichnung Indunorm: MRN Armaturenreihe: Universalprogramm XV Bauform: 0° Beständigkeit gegen Rotrost [h]: 144 Beständigkeit gegen Weissrost [h]: 72 Material: Automatenstahl Oberfläche: Cr3

