Produktinformationen
-
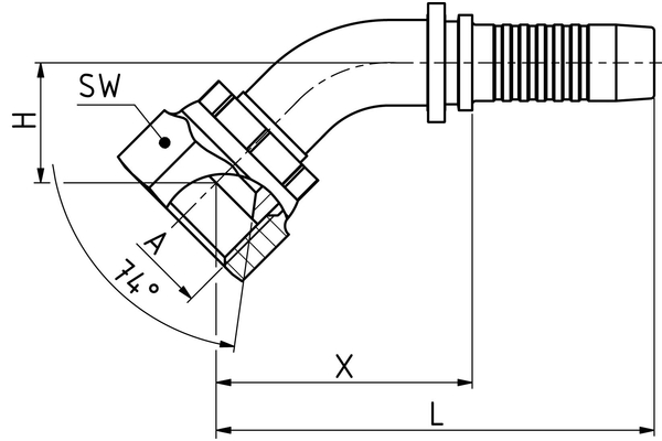
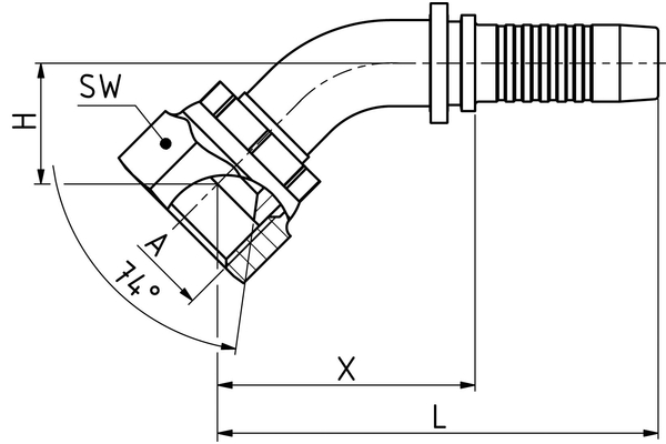
Technische Daten
DN: 10 Size: 06 Zoll: 3/8 Gewinde + Norm: JIC-Dichtkopf, 74°-Konus mit Überwurfmutter, UN-/UNF-Gewinde Anschluss-Gewinde A: 1/2"-20 UNF X [mm]: 43,5 L1 [mm]: 77,0 H [mm]: 18,2 SW1 [mm]: 17 Mutterntyp: CR Anschlussart: DKJ 45° Anschlussbezeichnung Indunorm: JF 45° Armaturenreihe: Universalprogramm XV Bauform: °45 Beständigkeit gegen Rotrost [h]: 144 Beständigkeit gegen Weissrost [h]: 72 Material: Automatenstahl Oberfläche: Cr3

