Produktinformationen
-
Technische Daten
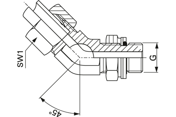
Betriebsdruck [bar]: 315 Berstdruck [bar]: 1260 Rohr-Ø R [mm]: 10 Gewinde [G1]: M16x1,5 Gewinde [G2]: G 1/4" Baureihe: L O-Ring 1: 10,77x2,62 SW1 [mm]: 19 SW2 [mm]: 19 SW3 [mm]: 19 Anschlussart 1: Metrisch 24° Anschlussart 2: Zöllig Bauform: Winkel 45° Beschreibung: Einstellbare Winkel-Verschraubung 45°, zöllig mit O-Ring und Kontermutter Beständigkeit gegen Rotrost [h]: 1000 Beständigkeit gegen Weissrost [h]: 500 Material: Stahl Oberfläche: Chrom III

